Apple Watch Line Art
Samsung Caught Using Drawings Of Apple Watch In Its Own Smartwatch Patent Filing
A Round Apple Watch Could Still Be On The Cards According To A New Patent
We Could Get An Apple Watch With Touch Id In Its Digital Crown
At T S Power Drum Is A Multi Purpose Wireless Charging Solution For Iphone And Apple Watch
Apple Icon Iwatch Icon Run Icon Running Icon Games Logo Line Art Transparent Background Png Clipart Hiclipart
How To Draw An Apple Watch Drawingforall Net
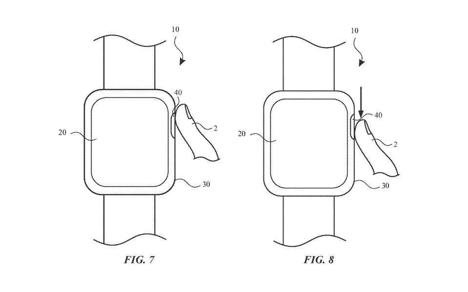
Apple Won An Apple Watch Band Patent For Delivering Tactile Notifications In The Form Of Symbols And Or Braille Patently Apple
Apple Patent Filing Involves An Apple Watch With A Capacitive Gap Sensor Apple World Today
Depictions Of Haptic Actuators In The Iphone And Apple Watch Source Download Scientific Diagram
Apple Watch Series 5 Rumor Review Price Release Date And New Features Phonearena
Apple Patent Reveals Possible Radical Apple Watch 6 Design Upgrade
Wearing Your Apple Watch Apple Support
Wearing Your Apple Watch Apple Support
Apple Cartoon Png Download 512 512 Free Transparent Apple Watch Series 3 Png Download Cleanpng Kisspng
Apple Watch Patent Application Reveals Millimeter Wave 5g And Wi Fi Design Venturebeat
Apple S R D Team For Apple Watch Envision More Wrist Movement Actions Controlling Functionality Patently Apple
Apple Smartwatch Patent Hints At Future Apple Watch Models With Built In Cameras Digital Photography Review
Apple Patents Apple Watch Sport Band Classic Buckle And Link Bracelet Designs Appleinsider
Apple Watch Iphone Vents May Gain Protective Covers That Vaporize Water Appleinsider
Apple Watch Series 1 Dimensions Drawings Dimensions Com
Apple Is Granted A Patent For A Round Apple Watch Cnet
Apple Patent Reveals Brilliant New Iphone Apple Watch Problem Solver
Q Tbn And9gcqdvib 3rpwwkpqlpz0glwdaxybbuyqz Faoppiqqklff7cy2xs Usqp Cau
Apple Granted Patent For Apple Watch Bands With Embedded Circuitry Apple World Today
Patent Describes Apple Watch Feature For Improving Treatment Of Parkinson S Disease Symptoms Macrumors
Q Tbn And9gcqdvib 3rpwwkpqlpz0glwdaxybbuyqz Faoppiqqklff7cy2xs Usqp Cau
Apple Has Explored Adding Positionable Cameras To Apple Watch Bands Macrumors
Continuous Line Persons Hand Indicates Wrist Stock Vector Royalty Free
Apple Watch Coloring Page Line Art Clipart Full Size Clipart Pinclipart
Apple Won 62 Patents Today Covering Apple Watch As A Wearable Audio Device And More Patently Apple
Apple Watch Bands With Self Tightening Skin Texture Authentication And Led Progress Bar Detailed In Patents Macrumors
Vector Download Iphone Apple Watch Line Drawing Free Transparent Png Clipart Images Download
Line Apple Watch Icon Set Icon Set Apple Watch Icon
How To Draw The Apple Watch Iwatch Step By Step Drawing Guide By Dawn Dragoart Com
Oneplus Watch Tipped For Launch Could Take On Apple Watch Galaxy Watch 3 From Samsung Technology News
Apple Smartwatch Drawing Apple Watch Line Transparent Background Png Clipart Hiclipart
Apple Investigating Reinforced Plastic As Case Material For Future Apple Watch Appleinsider
Apple Awarded Patents For Apple Watch Sport Band Classic Buckle And Link Bracelet Designs
Apple Watch Magnetic Charger To Usb C Cable Now Available In Longer 1m Size Macrumors
First Apple Watch Concept Drawing Reveals Brilliance Of Original Designs
Apple Watch Bands With Self Tightening Skin Texture Authentication And Led Progress Bar Detailed In Patents Macrumors
Apple Watch The Secret History Of The Iphone Killer Wired
Apple Awarded Patents For Apple Watch Sport Band Classic Buckle And Link Bracelet Designs
Apple Has Been Granted 15 Extraordinarily Detailed Design Patents For Apple Watch 4 Using Various Line Art Types Patently Apple
Apple Watch Drawing At Paintingvalley Com Explore Collection Of Apple Watch Drawing
Emg Powered Apple Watch Could Monitor Muscle Movements
Watch Lines Hd Stock Images Shutterstock
Apple Watch 5 What We Re Expecting Cnet
Apple Patent Hints At Facetime For Apple Watch Macdailynews
Apple Background Png Download 1600 1600 Free Transparent Watch Png Download Cleanpng Kisspng
Applewatch Icon Heart Icon Iwatch Icon Clipart Watch Line Line Art Transparent Clip Art
Apple Researching Bio Authentication Processes For The Apple Watch Myhealthyapple
Apple Watch Series 6 May Get A Much Loved Iphone Feature And Revolutionary Gestures
Apple Watch Camera With A Nifty Design Seen In Apple Patent 9to5mac
Apple Watch Line Art By Ryan Allen On Dribbble
Apple Watch Drawing At Paintingvalley Com Explore Collection Of Apple Watch Drawing
3
How To Draw An Apple Watch Drawingforall Net
Apple Smartwatch Patent Hints At Future Apple Watch Models With Built In Cameras Digital Photography Review
Apple Secures Design Patent For The Apple Watch The Verge
Apple Watch Wallpaper Line Art Illustration With Monstera Etsy
Another Apple Watch Patent Features Battery Band Oddly Shows Round Watch Design 9to5mac
Layout Visual Watchos Human Interface Guidelines Apple Developer
Apple S New Patents Hint At Touch Id And Under Display Camera Support For Apple Watch Gizmochina
How To Draw An Apple Watch Drawingforall Net
Apple Watch Could Get A Camera On The End Of A Watch Band S Strap Appleinsider
Apple Watch May Use Touch Id And Under Screen Camera
5 Ideas For Apple Watch Wired
Apple Researching Apple Watch Bands That Can Provide Information In Braille Appleinsider
The Apple Watch Camera Might Not Be Placed On The Apple Watch
Apple Updates A Patent To Focus On A Future Apple Watch Redesign That Would Involve Replacing Its Metal Case With One Of Glass Patently Apple
How To Draw A Smart Watch Drawingforall Net
Apple Wins Patents Introducing Smart Adjustable Fabric For Health Related Apple Watch Bands More Patently Apple
Apple Watch Coloring Page Line Art Clipart Pinclipart
Apple Files European Patent For Smart Apple Watch Band With Embedded Circuitry And Led Indicators Patently Apple
Q Tbn And9gcqehwaaqb A 7p Rdbunqlf X8s4mv86yfamu6f E0 Usqp Cau
Apple Patents Watch Band With Built In Camera
Apple Awarded Patents For Apple Watch Sport Band Classic Buckle And Link Bracelet Designs
Apple Watch Line Mockup Sketch Freebie Download Free Resource For Sketch Sketch App Sources
Patent Reveals Apple Watch With Flat Digital Crown That Recognizes Touch
Apple Clip Art Apple Watch Clip Art Transparent Png 368x663 Png Image Pngjoy
Apple Watch Could Get A Camera On The End Of A Watch Band S Strap Appleinsider
The Next Apple Watch Could Let You Answer Phone Calls With A Clenched Fist
Apple Granted Design Patent For Apple Watch Probably To Be Used In Future Lawsuits
Apple Filed Patents For Larger Apple Watch Oled Displays Oled Burn In Solution Iphone In Canada Blog
Apple Watch Faces 100s Of Custom Wallpapers To Pick From
Apple Watch Wrist Sensors Could Increase Security By Scanning Veins In The Wearer S Wrist Appleinsider
Apple Watch Wallpaper With Minimal Line Art And Black Background Women Face Illustration Instant Download Jpg File Apple Watch Wallpaper Apple Watch Watch Wallpaper
Apple Watch Design Wins Patent On Look And Feel Watch Sketch Apple Watch Design Watch Drawing
It 4 Int Immense Techie Four International Pvtltd Server Hosting Smart Apple Watch Bands Described In Apple Patents Including Wrist Id 9to5mac Smart Apple Watch Bands Described In
Isolated Line Art Apple Icon With A Wrist Watch Buy This Stock Vector And Explore Similar Vectors At Adobe Stock Adobe Stock
Www Droit Technologie Org Wp Content Uploads 17 02 Dossier Pdf Pdf
Apple Patent Reveals Apple Watch S Digital Crown Being Eliminated And Replaced With An Optical Based System Patently Apple
Apple Considered Fitting Camera In Apple Watch S Wristband Pcmag
Apple Focuses On A Future Apple Watch Optical Sensing System For Wrist Gesture Commands A Camera More Patently Apple
Round Apple Watch Could Be Coming Soon Based On New Patent Slashgear
How To Draw An Apple Watch Drawingforall Net
55 Best Apple Watch Mockup Templates Designazure Com
New Patent Could Give The Apple Watch Huge Battery Life Boost
New Patent Hints At Wrist Id For Apple Watch
Future Apple Watch Could Respond To Hand Movements And Gestures For Interaction Appletoolbox
Color Block Line Abstract V Apple Watch Band By Midcenturymodern Society6
Line Art Doodles Apple Watch Band 40mm 38mm 42mm 44mm For Etsy
Apple S Camera Toting Apple Watch Band Employs Facial Recognition Tech For Clear Facetime Calls Appleinsider


